せっかくのダンボールフレームですから、家具や小物もできるだけ紙を使っています。
普通のドールハウスに比べて、スケールが半分ぐらいしかないので、紙の方が加工が簡単というメリットもあります。フレームを作った時の残りのボール紙を使っています。
お店のテーマは「ハーブショップ」。陳列用の什器に商品が一杯並んでいる・・・というイメージです。
なお、小物類は、紙以外に粘土や角材、布等も使ってあります。 |
| ★陳列台 |
|
 |
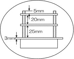
お店の中で一番大きな目立つ家具です。
主要な商品がこの上に載ります。
紙を巻いて作ったパイプを棚板の間に挟んで積み上げたのですが、真っ直ぐに見えるように積み上げていくのはけっこう大変です。
明るい黄土色に塗ってあります。 |
  |
| |
|
|
| ★陳列棚 |
|
|
|
お店の隅っこに収まる扇形の棚です。
実物に換算すると2mを超える背の高い棚ですので、実際に商品を陳列するのは下2段だけを使用します。一番上の棚は飾り物を置きます。
陳列台とお揃いの明るい黄土色に塗ってあります。
|
| |
|
|
| ★ティーテーブル |
|
|
|
ハーブティーの試飲をするためのテーブルです。
テーブルの上にはティーセットが載ります。
木製のつもりなので、こげ茶色に塗ってあります。
|
| |
|
|
| ★小物類 |
|
|